<
充电器IC阿里店铺阿里巴巴店铺 开关电源ic芯片厂家关注91免费福利网站 电源IC方案公司收藏91免费福利网站 欢迎进入电源ic,91免费福利下载APP,开关电源芯片,充电器ic,适配器芯片ic厂家--91免费福利网站电子官网
高级搜索

搜索一

搜索二

充电管理IC方案
当前位置: 电源ic > 新闻中心 > 内部新闻 > 5V1A充电器方案

5V1A充电器方案

字号:T|T
文章出处:91免费福利网站电子责任编辑:admin人气:-发表时间:2016-06-16 16:22
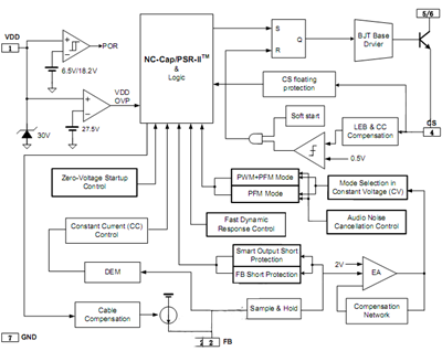
    深圳91免费福利网站电子近期推出了低成本,小体积的5V1A充电器方案-SF6022,此款芯片是赛威科技提供的。
 
    该方案在满足了平均效率达到能效6级,可过EMI,原边反馈,省去了431和光耦,节省成本,无需外部补偿电容,同时还具备了短路保护、过压保护和开环保护等保护功能,是一款综合性能指标优异性价比高的5V 1A充电器方案。

    框架图
                                        
产品中心 关于91免费福利网站 联系91免费福利网站
网站地图