充电器芯片阿里巴巴店铺 开关电源芯片关注91免费福利网站 91免费视频成人收藏91免费福利网站 欢迎进入电源芯片/驱动芯片、MOS、IGBT、二三极管、桥堆等电子元器件代理商--91免费福利网站电子官网
高级搜索

搜索一

搜索二

充电管理IC方案

推荐产品

联系91免费福利网站

开关电源芯片
深圳市91免费福利网站电子科技有限公司

电话:0755-23087599

手机:13808858392

邮箱:dunianhua@leweitech.com

地址:深圳市宝安区西乡鹤洲恒丰工业城B11栋5楼东

prevnext

PN8016_5V0.3A家电非隔离芯片

所属分类:Chipown/芯朋微
品牌:芯朋微
型号:PN8016
封装:SOP7
功率:1.5W
电流:300mA
订购热线:0755-23087599
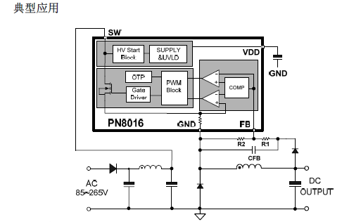
  PN8016集成PFM控制器及800V高雪崩能力智能功率MOSFET,用于外围元器件极精简的小功率非隔离开关电源,输出电压可通过FB电阻调整。PN8016内置800V高压启动与自供电模块,实现系统快速启动、超低待机、自供电功能。该芯片提供了完整的智能化保护功能,包括过载保护,欠压保护,过温保护。另外PN8016的降频调制技术有助于改善EMI特性。
  
  PN8016芯片特点:  
  ■ 内置800V高雪崩能力智能功率MOSFET  
  ■ 内置高压启动和自供电电路  
  ■ 适用于Buck、Buck-Boost、Flyback等多种架构  
  ■ 输出电压3.3V~18V可通过FB电阻调整  
  ■ 半封闭式稳态输出电流> 300mA @230VAC  
  ■ 改善EMI的降频调制技术  
  ■ 优异的负载调整率和工作效率  
  ■ 全面的保护功能  
     过载保护(OLP)  
     过温保护(OTP)  
     欠压保护(UVLO)

  pn8016应用电路图

  PN8016芯片内置800V高压启动与自供电模块,输出电压3.3V~18V可通过FB电阻调整,典型应用于5V0.3A家电方案,更多pn8016数据手册及应用资料可向91免费福利网站电子申请。>>
 
产品中心 关于91免费福利网站 联系91免费福利网站
网站地图